Baytekin
Kapat
  • Ölçüm Grubu
    • Back
    • Harita ve İnşaat Ekipmanları
      • Back
      • GNSS / CORS
        • Back
        • GNSS Alıcıları
        • GNSS Kontrol Üniteleri
        • GNSS Harici Radyo Modem
        • GNSS Sabit İstasyon
      • SLAM RTK
      • Total Station
      • Dijital Eğim ve Açı Ölçerler
      • Nivo
      • Teodolit
      • Şaküller
      • Metre
        • Back
        • Lazerli Metreler
      • Telsiz
      • 360° Kamera
      • DGPS
    • Maden Ekipmanları
      • Back
      • BRUNTON
        • Back
        • Transit
        • Pusulalar
        • Askeri Pusula
        • Hassas Pusula - Eğim Ölçer
        • Aksesuarlar
      • ESTWİNG
        • Back
        • Jeolog Çekici
        • Balyozlar
        • Baltalar
        • Keskiler
        • Çanta ve Kılıflar
      • Pusula ve Eğim Ölçer
      • Diğer Maden Ekipmanları
    • Orman Ekipmanları
      • Back
      • Ağaç Boy ve Eğim Ölçerler
      • Artım Burguları
      • Tomruk Kumpasları
      • Fotokapanlar
      • Diğer Orman Ürünleri
      • Özel Cihazlar (Rinntech)
    • Çevresel Ekipmanlar
      • Back
      • Nem ve Sıcaklık Ölçerler
      • DRC Diagnostic Beton Test Cihazları
      • Sıcaklık Ölçerler (Infrared)
      • Boroskoplar
      • Planimetreler
      • Stereoskoplar
      • Test Cihazları
      • Köpek Kovucular
      • Kazıyıcı Bıçaklar
    • Dürbünler
      • Back
      • Dürbün
      • Tüfek Üstü Dürbün
      • Lazer Mesafe Ölçer
    • Kafa Lambaları
    • Aksesuarlar
      • Back
      • Aktarım Kabloları
        • Back
        • USB ve RS 232 Transfer Kabloları
      • Batarya ve Şarj Cihazları
        • Back
        • Bataryalar
        • Şarj Cihazları
      • Diğer Aksesuarlar
        • Back
        • Jalon ve Mira Düzeçleri
        • Paralel Mikrometreler
        • Mira Çarığı
        • Pilye Başlığı
        • Yazı Şablonu
        • Nivo ve Total Station Taşıma Kutuları
        • Diğer
      • Lazerli Nivo Aksesuarları
        • Back
        • Dedektörler
        • Gözlük ve Targetler
        • Duvar ve Tavan Aparatları
      • Mira ve Jalonlar
        • Back
        • GNSS Jalonları
        • Fiberglass Miralar
        • Alüminyum Miralar
        • Doğrultu Jalonları
        • Reflektör Jalonları
        • Invar Mira
        • Mini Jalonlar
        • Ahşap Miralar
        • Dijital Miralar
      • Reflektör Takımları
        • Back
        • Mini Prizma Takımları
        • Prizma Takımları
        • Kağıt ve Plastik Prizmalar
      • Tribrah ve Tribrah Adaptörleri
        • Back
        • Tribrahlar
        • Tribrah Adaptörleri
      • Sehpalar (Tripod)
        • Back
        • Jalon Sehpaları
        • Ahşap ve Alüminyum Tripod
        • Lazer Sehpaları (Elevatörlü)
    • Su Altı Görüntüleme ve Kamera Sistemleri
  • Garmin
  • Bisiklet
    • Back
    • ABUS Kilitler
  • Marine
    • Back
    • Echopilot
    • Marine Telsiz
    • Marine Pusula
  • GoPro
    • Back
    • GoPro Kamera & Aksesuar
    • GoPro Yetkili Satış Noktaları
  • Kampanyalı Ürünler
    • Back
    • Kiralık GNSS & Total Station
  • Destek
    • Back
    • Kataloglar
    • Yardımcı Programlar
Menu
  • Ölçüm Grubu
    • Back
    • Harita ve İnşaat Ekipmanları
      • Back
      • GNSS / CORS
        • Back
        • GNSS Alıcıları
        • GNSS Kontrol Üniteleri
        • GNSS Harici Radyo Modem
        • GNSS Sabit İstasyon
      • SLAM RTK
      • Total Station
      • Dijital Eğim ve Açı Ölçerler
      • Nivo
      • Teodolit
      • Şaküller
      • Metre
        • Back
        • Lazerli Metreler
      • Telsiz
      • 360° Kamera
      • DGPS
    • Maden Ekipmanları
      • Back
      • BRUNTON
        • Back
        • Transit
        • Pusulalar
        • Askeri Pusula
        • Hassas Pusula - Eğim Ölçer
        • Aksesuarlar
      • ESTWİNG
        • Back
        • Jeolog Çekici
        • Balyozlar
        • Baltalar
        • Keskiler
        • Çanta ve Kılıflar
      • Pusula ve Eğim Ölçer
      • Diğer Maden Ekipmanları
    • Orman Ekipmanları
      • Back
      • Ağaç Boy ve Eğim Ölçerler
      • Artım Burguları
      • Tomruk Kumpasları
      • Fotokapanlar
      • Diğer Orman Ürünleri
      • Özel Cihazlar (Rinntech)
    • Çevresel Ekipmanlar
      • Back
      • Nem ve Sıcaklık Ölçerler
      • DRC Diagnostic Beton Test Cihazları
      • Sıcaklık Ölçerler (Infrared)
      • Boroskoplar
      • Planimetreler
      • Stereoskoplar
      • Test Cihazları
      • Köpek Kovucular
      • Kazıyıcı Bıçaklar
    • Dürbünler
      • Back
      • Dürbün
      • Tüfek Üstü Dürbün
      • Lazer Mesafe Ölçer
    • Kafa Lambaları
    • Aksesuarlar
      • Back
      • Aktarım Kabloları
        • Back
        • USB ve RS 232 Transfer Kabloları
      • Batarya ve Şarj Cihazları
        • Back
        • Bataryalar
        • Şarj Cihazları
      • Diğer Aksesuarlar
        • Back
        • Jalon ve Mira Düzeçleri
        • Paralel Mikrometreler
        • Mira Çarığı
        • Pilye Başlığı
        • Yazı Şablonu
        • Nivo ve Total Station Taşıma Kutuları
        • Diğer
      • Lazerli Nivo Aksesuarları
        • Back
        • Dedektörler
        • Gözlük ve Targetler
        • Duvar ve Tavan Aparatları
      • Mira ve Jalonlar
        • Back
        • GNSS Jalonları
        • Fiberglass Miralar
        • Alüminyum Miralar
        • Doğrultu Jalonları
        • Reflektör Jalonları
        • Invar Mira
        • Mini Jalonlar
        • Ahşap Miralar
        • Dijital Miralar
      • Reflektör Takımları
        • Back
        • Mini Prizma Takımları
        • Prizma Takımları
        • Kağıt ve Plastik Prizmalar
      • Tribrah ve Tribrah Adaptörleri
        • Back
        • Tribrahlar
        • Tribrah Adaptörleri
      • Sehpalar (Tripod)
        • Back
        • Jalon Sehpaları
        • Ahşap ve Alüminyum Tripod
        • Lazer Sehpaları (Elevatörlü)
    • Su Altı Görüntüleme ve Kamera Sistemleri
  • Garmin
  • Bisiklet
    • Back
    • ABUS Kilitler
  • Marine
    • Back
    • Echopilot
    • Marine Telsiz
    • Marine Pusula
  • GoPro
    • Back
    • GoPro Kamera & Aksesuar
    • GoPro Yetkili Satış Noktaları
  • Kampanyalı Ürünler
    • Back
    • Kiralık GNSS & Total Station
  • Destek
    • Back
    • Kataloglar
    • Yardımcı Programlar
Kapat
Kapat
  • Kaydol
  • Giriş Yap
  • Alışveriş sepeti
Sepet 0
Alışveriş sepetinizde ürün yok.
Menu
Personal menu
Baytekin
Ara
0
  • Ana sayfa /
  • ABUS Kilitler /
  • ABUS Kilit 65-40

ABUS Kilit 65-40

ABUS Kilit 65-40 resmi

ABUS Kilit 65-40

₺924,05
Üretici: ABUS
Stok Kodu: 02337
  • Ürün Özellikleri
  • Teknik Özellikler

ABUS Kilit 65-40

65MB/15 - 65/25: Daha az değerli veya düşük hırsızlık riski olan değerli eşyaları / malları güvence altına almak için.

65/30 - 60: Orta değerde veya ortalama hırsızlık riski olan değerli eşyaları / malları güvence altına almak için.

15 - 25 mm: Çantaları, valizleri, mücevher kutularını, para kasalarını vb. sabitlemek için.

30 - 60 mm: Zincirleri, kapıları, dolapları, kilitli dolapları, alet kutularını, kiler pencerelerini, hangarları, elektrik panolarını vb. sabitlemek için.

Teknoloji

  • Pirinçten yapılmış yekpare kilit gövdesi
  • Aşırı korozyon direnci için NANO PROTECT™ kaplamalı sertleştirilmiş çelik zincir
  • Aşındırıcı olmayan malzemelerden yapılmış iç bileşenler
  • Hassas iğneli bardak silindiri
  • Farklı uzunluklarda mevcut prangalar (HB)
  • 65CS: köstek koruması, köstekleri saldırılara karşı korur
  • 65MB: pirinç zincir

Varyantlar

  • Boyutlar: 15, 20, 25, 30, 35, 40, 45, 50, 60 mm
  • Uzun zincir (HB): 30HB60, 40HB40, 40HB63, 50HB80
  • Paslanmaz çelik köstek (IB): 40

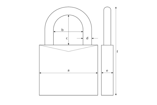
Abus kilit teknik veri

Teknik Veri:

  • Ürün Kodu: 02337
  • Seviye: 5
  • Derinlik: 15 mm
  • Yükseklik f: 62 mm
  • Farklı uzunluklarda mevcut prangalar (HB)
  • Yatay boşluk b: 22 mm
  • Boş Anahtar: 12022
  • Kilitleme: farklı anahtarlı
  • Kilitleme tipi: anahtar
  • Sağlanan anahtar sayısı: iki anahtar dahildir
  • Ambalaj: bireysel kutu
  • Güvenlik kartı: Yok
  • Kelepçe çapı d: 6,5 mm
  • Dikey boşluk c: 22 mm
  • Ağırlık: 154 gr
  • Genişlik A: 40 mm
Ürün nitelikleri
Nitelik AdıNitelik değeri
Ağırlık154 gr
Güvenlik seviyesi5
Genişlik40 mm
Derinlik15 mm
Yükseklik62 mm
Kelepçe çapı6,5 mm
Dikey boşluk22 mm

ABUS Kilit 65-40

65MB/15 - 65/25: Daha az değerli veya düşük hırsızlık riski olan değerli eşyaları / malları güvence altına almak için.

65/30 - 60: Orta değerde veya ortalama hırsızlık riski olan değerli eşyaları / malları güvence altına almak için.

15 - 25 mm: Çantaları, valizleri, mücevher kutularını, para kasalarını vb. sabitlemek için.

30 - 60 mm: Zincirleri, kapıları, dolapları, kilitli dolapları, alet kutularını, kiler pencerelerini, hangarları, elektrik panolarını vb. sabitlemek için.

Teknoloji

  • Pirinçten yapılmış yekpare kilit gövdesi
  • Aşırı korozyon direnci için NANO PROTECT™ kaplamalı sertleştirilmiş çelik zincir
  • Aşındırıcı olmayan malzemelerden yapılmış iç bileşenler
  • Hassas iğneli bardak silindiri
  • Farklı uzunluklarda mevcut prangalar (HB)
  • 65CS: köstek koruması, köstekleri saldırılara karşı korur
  • 65MB: pirinç zincir

Varyantlar

  • Boyutlar: 15, 20, 25, 30, 35, 40, 45, 50, 60 mm
  • Uzun zincir (HB): 30HB60, 40HB40, 40HB63, 50HB80
  • Paslanmaz çelik köstek (IB): 40

Abus kilit teknik veri

Teknik Veri:

  • Ürün Kodu: 02337
  • Seviye: 5
  • Derinlik: 15 mm
  • Yükseklik f: 62 mm
  • Farklı uzunluklarda mevcut prangalar (HB)
  • Yatay boşluk b: 22 mm
  • Boş Anahtar: 12022
  • Kilitleme: farklı anahtarlı
  • Kilitleme tipi: anahtar
  • Sağlanan anahtar sayısı: iki anahtar dahildir
  • Ambalaj: bireysel kutu
  • Güvenlik kartı: Yok
  • Kelepçe çapı d: 6,5 mm
  • Dikey boşluk c: 22 mm
  • Ağırlık: 154 gr
  • Genişlik A: 40 mm
Ürün nitelikleri
Nitelik AdıNitelik değeri
Ağırlık154 gr
Güvenlik seviyesi5
Genişlik40 mm
Derinlik15 mm
Yükseklik62 mm
Kelepçe çapı6,5 mm
Dikey boşluk22 mm
Ürün etiketleri
  • Baytekin (670)

Teklif İsteyiniz

ABUS Kilit 65-40 (02337)








Haber bülteni Haftalık teklifler ve yeni içerikler için abone olun!
Bekleyin...
 
Baytekin
Bilgi
  • Hakkımızda
  • Banka Bilgileri
  • Teslimat ve İade
  • Yardımcı Programlar
  • İletişim
Müşteri hizmetleri
  • Sipariş Teslimat Bilgisi
  • Veri Sahibi Başvuru Formu
  • Gizlilik ve Güvenlik Politikası & Kişisel Verilerin Korunması ve İşlenmesi Politikası
  • Çerez Politikası
  • Güvenlik Kameraları Aydınlatma Metni
Fırsatlar
  • Yeni ürünler
  • Son görüntülenen ürünler
  • Ürün listesini karşılaştır
  • Ara
Powered by nopCommerce
Made with Kudyu
Telif hakkı © 2026 Baytekin. Tüm hakları saklıdır.